Patent for a combination sparrow-catcher / cat-feeder
From Futility Closet: Patent #4150505 for a Bird trap and cat feeder, issued on April 24, 1979
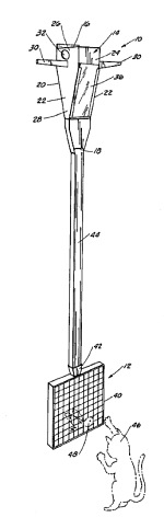
Why spend money on cat food when there’s a more immediate solution? Leo Voelker’s 1979 invention simultaneously curbs the local sparrow population and keeps the local cats occupied.The birds enter the housing at the top but can escape only through the mesh cage at the bottom, which serves as a kind of self-serve food dispenser for neighborhood cats.
“The cat feeder by its design is self-cleaning since the cat quickly learns to remove the sparrow from the cage.”








Leave a comment